

Bevan Seatech Ltd was founded in the late 1960s in Southampton, United Kingdom. According to corporate records, the company’s workshop began operating in 1969. The name of the firm appears to derive from the surname of its founder (Bevan — a fairly common historic Welsh name), combined with Sea Tech (short for sea technology). Unfortunately, very little documentary evidence about the company survives, but it is clear that the founder possessed expertise in maritime affairs, electronics, and navigation, and sought to introduce innovative solutions into shipboard equipment. His contribution laid the foundation for the company’s reputation as a manufacturer of reliable marine instruments.
The establishment of Bevan Seatech Ltd coincided with a period of strong growth in maritime navigation after the Second World War, when the demand for modern navigational and meteorological equipment was rising. The company launched in 1969, registering its office and workshop at 70 Quayside Road, Bitterne Manor, Southampton (England) — a location close to the shipping quays, which facilitated its commercial success.
In its early years, Bevan Seatech Ltd actively developed original instruments for maritime use. Around 1970, the company introduced its flagship product, the “Baralarm”, an alarm barometer. The Baralarm was an aneroid barometer with a built-in electric alarm: when the atmospheric pressure fell below a set level, the instrument emitted an audible warning from a battery-powered buzzer. This innovation made it possible to warn ship crews automatically of sudden weather deterioration (an approaching storm).
At roughly the same time (the early 1970s), Bevan Seatech also brought to market another original product, the “Barochron”. The Barochron most likely combined the functions of a barometer and a chronometer (i.e., it could record or display pressure changes over time). These instruments, alongside the Baralarm, became the company’s hallmark products, mentioned among marine scientific devices of that era. Their commercial success established Bevan Seatech’s reputation as a leading firm in the niche of marine measuring instruments.
In the following decades the company developed steadily. Beyond manufacturing its own specialized barometers, Bevan Seatech supplied and serviced a variety of electronic apparatus for vessels. By the 1980s the firm was offering integrated solutions in marine electronics and electrical systems — from navigation devices to onboard electrical installations. It likely established partnerships with larger equipment manufacturers (both British and international), acting as a regional dealer and service center. Indirect evidence for this is found in later references describing Bevan as a company with long-standing experience in the installation, repair, and modernization of shipboard electronic systems. Overall, the 1980s can be characterized as a period of stable growth: the company strengthened its position in the British market, with its products and services used both in the commercial fleet and among private yacht owners.
In the 1990s significant changes occurred. Technological progress (digital electronics, satellite navigation) gradually displaced analogue instruments such as the Baralarm, and the company shifted its focus from production to servicing and integration of modern systems.
Details of any subsequent reorganization are unclear, but all evidence suggests that by the turn of the millennium the firm was no longer operating under its original name. However, the Bevan family business did not vanish: it was transferred to the Isle of Man and continued there in a different legal form. A company named Bevan Limited was registered, presenting itself as the successor to Bevan Seatech’s expertise. It retained the same specialization — marine electronics and electrical engineering — and continued to serve both private and commercial vessels. The headquarters were established in the town of Peel, Isle of Man, and until 2012 the workshop also operated in the port of Ramsey.
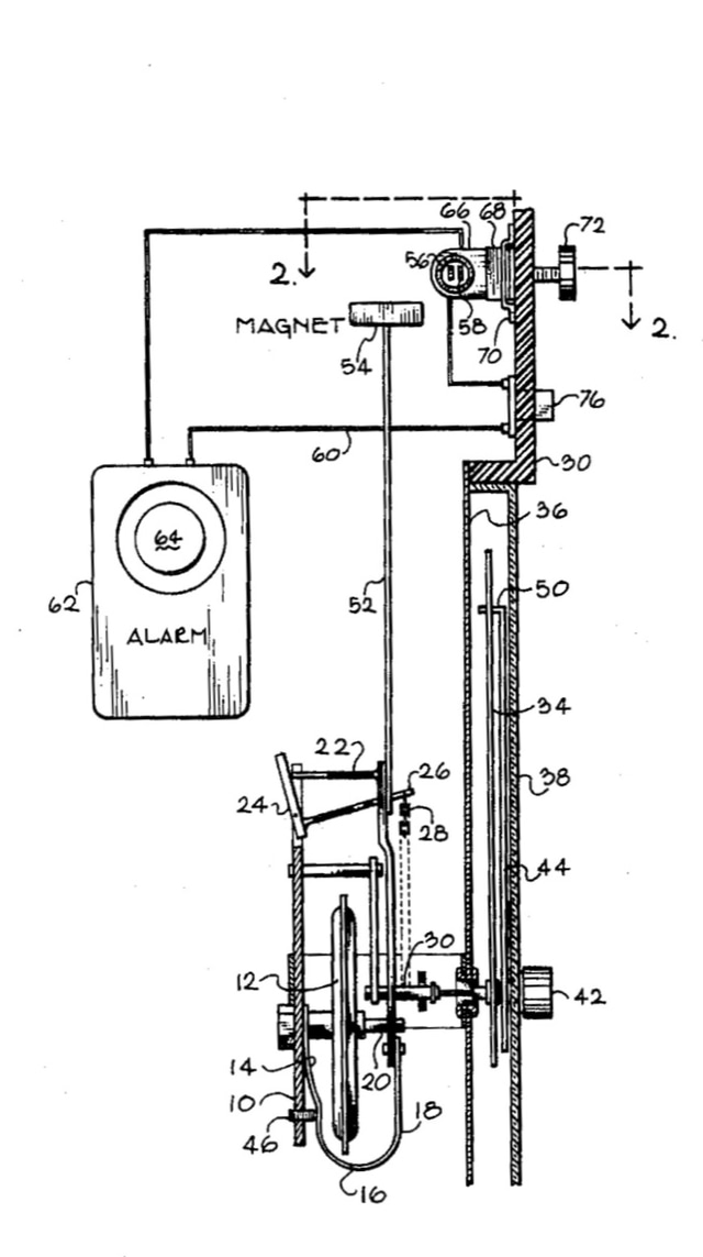
The Baralarm (“Alarm Barometer”) was perhaps the company’s most famous instrument. It was an aneroid barometer with an integrated warning system for dangerous pressure drops. Its design included a mechanical pressure sensor (an aneroid capsule with a U-shaped spring) and a magnetic or electric contact set to a threshold level. When the pressure fell to that level, the contact closed and activated an audible signal (a bell or buzzer). In this way the instrument automatically warned of a sudden worsening of weather — an approaching storm or gale. Devices of this type were especially useful for yachtsmen, fishermen, and sailors on small vessels, where a sudden drop in pressure required immediate action. The Baralarm was mechanically simple and robust: descriptions of comparable inventions state that a magnet on a spring activated a reed switch when pressure fell, with power supplied by batteries. The dial was graduated in millibars (typically 950–1050 mbar), and the instrument could be mounted on a bulkhead in a wheelhouse or cabin.
The innovative character of Bevan Seatech lay in combining traditional mechanics with electronics. At a time when electronic barometers were beginning to emerge, the company integrated an automatic alarm system into a shipboard barometer.
Interestingly, a patent for a similar device was granted in 1970 to the American company Weather Watch Instruments (U.S. Patent No. 3,623,051). This American firm, active in the second half of the 20th century and based in Texas, specialized in weather-monitoring instruments. Its founders and inventors were Alvin R. Juno and Jasper R. Pruitt, who are named in the patent.
The patent describes an aneroid barometer with an electric alarm: when atmospheric pressure fell below a set threshold, an audible signal would be triggered. The technical solution consisted of attaching a long lever with a magnet to the U-shaped spring of the aneroid. As the spring flexed, the lever brought the magnet close to a reed switch, closing the circuit of a battery-powered alarm.
This American invention found practical application in the products of the British company. The coincidence in timing suggests some form of connection between the two firms (partnership, licensing, etc.), though no definitive documentation survives.
Device operation as shown in the patent drawing
Main construction:
Alarm function:
Adjustment:
Additional features:
Principle of operation in three steps: